

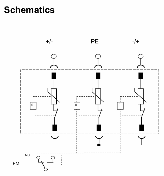
Product Name: Surge Protection Device (SPD) for PV System
Features: ● With Remote Signal Contact and Failure Indication
● Pluggable Module for Easy Replacement ● Internal Thermal Protection, Fail-safe
Applications
Schematics Dimensions (mm)
● Photovoltaic Inverter ● Distribution Power Unit (DPU) ● DC Lightning Protection Box
● DC Power Supply ● Energy Storage Converter

